找回密码
 注册会员

QQ登录

只需一步,快速开始

扫一扫,访问微社区

查看: 357|回复: 0

变压器引线的冷挤压焊模具

[复制链接]
发表于 2010-9-12 08:45:02 | 显示全部楼层 |阅读模式

马上注册,结交更多好友,享用更多功能,让你轻松玩转磨削论坛

您需要 登录 才可以下载或查看,没有账号?注册会员

×
1 引言
  变压器的引线分为三种:绕组线端与套管连接的引出线、绕组端头间的连接引线以及绕组分接与开关相连的分接引线。由于变压器引线的冷挤压焊不需加热,焊接比较安全,挤压质量可靠,抗拉强度好,不存在虚焊、脱焊、烧坏引线和其它绝缘等问题,因此冷挤压焊在大型变压器的引线焊接中得到了普遍的应用。
  冷挤压焊可分为单头挤压焊和双头挤压焊。所谓单头挤压就是将单根或几根电缆线的一端挤压焊上一个接线头,如分接引线接线端子,套管引出的套管头部接头。所谓双头挤压,就是采用一根事先加工好的铜管来连接两根引线,绕组出头从一端插入,电缆线从另一端插入,然后用模具挤压铜管。由于连接管接头处材料形状不同,有扁线组合、电缆线及电缆线组合之分,并且连接的根数及规格各异,因此需要不同的模具种类。下面介绍几种我厂设计开发的变压器引线的冷挤压焊模具系列。
2 双头连接管扩孔模
  由于大型变压器的绕组基本上都是采用扁线绕制,绕组出头经排列后其形状一般为矩形或多边形,如图1 所示。有时由于引线结构的原因,绕组出头侧的截面会大于引线电缆的截面。如果直接按绕组出头排列的外接圆选择双头连接管并将外接圆作为连接管的内径,那么,引进双头连接管的内径将比另一端的引线电缆直径大两个规格以上,且引线电缆需包扎很厚的铜带才能进行冷挤压焊接,引线电缆极易从管中脱出,这样就很难保证压接质量;而根据引线电缆选择合适的连接管,绕组的出头则不能将其恰好插入甚至不能插入连接管。为适应连接管的开孔,很多厂家都是将绕组出头整理后用模具挤压成圆形,然后再将引线插入连接管进行冷挤压焊。其缺点是绕组出头的整理成形只能等到引线装配时才能进行,不能提前做好准备,而且绕组出头都是扁线或组合导线,强度大,操作困难,效率很低。为此,我
" U$ p) O( B( U7 t! m3 h6 u

; J6 {* M: X* w8 [1 v
(a)绕组出头为矩形

4 ]# V4 X. A1 [8 \$ ?: m* l

+ A1 i: o( }$ ?) F8 A$ _: i9 {
(b)绕组出头为多边形

3 D% l' [7 i& k! r+ V5 z) ?
图1 绕组出头

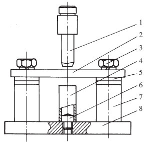
们经过反复研究,设计出了双头连接管扩孔装置。根据绕组出头形状对购进的双头连接管进行再加工,将其扩孔成形,然后再将绕组出头插入后进行引线的冷挤压焊接。双头连接管扩孔装置见图2,扩孔工作是在40t压力机上完成的。由于绕组出头尺寸不一样,因此该扩孔模是一个系列。
! i" ` X/ ~0 V) _6 N) q! v

# @' G* a" j+ h. Y1 F
图2 引进双头连接管扩孔装置

/ Z$ c& Z: r% f, k2 i
1-扩孔模2-卸料板3-螺栓4-双头连接管
5-垫圈6-定位销7-固定板8-底座

/ m6 k/ u3 P* `: [3 W% s/ _$ ]

4 P8 G/ e' u. }
图3 双进双头连接管扩孔模
- X+ ~! T/ h+ z3 \4 b
 
, ] n9 t0 n7 L# k5 E3 X
3 电缆线压圆模
  该压圆模用于压接多根电缆线。由于引线中选取的电缆线并接根数不同,其排列后截面形状也不同(如图4),选择连接管时按其总截面选择而不按外接圆半径来选择,因此电缆线头有的不能插入连接管。据此我们设计了电缆线压圆模,把各种截面形状的电缆线都挤压成圆形。然后插入双头连接管进行引线的冷挤压焊接。电缆线压圆模如图5。
?7 f8 k+ {6 F9 _9 U0 M& J( ^

8 o5 u! m5 }) @, e
图4 电缆线截面排列图

& w1 o( J, a5 w! A# F) C. b; F

' P$ y- c, C# _# w9 n x. E
图5 电缆线压圆模

4 六角形压模
  该压模用于压接电缆线与连接管的接头处。压接时应注意选择与连接管相匹配的模具尺寸,否则会出现不紧实或连接管外出棱角的情况。六角形压模如图6所示。
3 y U5 u& }& x

& t$ R" u B7 ]1 ]; K! }
图6 六角形压模

5 点压模
  该压模用于压接扁线与连接管的接头处。压接时也要注意选择与连接管相匹配的尺寸。否则,如模具尺寸过大则压不紧实,做压力试验时会出现扁线从连接管中脱出的情况;如模具尺寸选择过小,则连接管外将被压出棱角。点压模如图7所示。
7 W, y) G" y3 j6 Q+ t; |$ m

\+ ?& e' }' m% a2 p V% q
图7 圆形压模

6 试验结果
  我们选取了几种规格的电缆线,并选择了合适的连接管,经过压接后对其进行了拉力试验和接触电压试验,其结果见表1和表2。
3 E' ~. R/ ?; [

8 g2 z0 k7 C: ]5 T$ {, R% P; n
表1 电缆线压接后的拉断力

0 z1 J; W7 ]" |

9 j" ?; |, }5 V O9 n" j0 C- Q
表2 冷压接头电阻试验

; t @( }$ Y; r; A) E0 o, s- [; W
注:选取电缆线长度为1m。


  由以上的试验结果可以看出,电缆线压接后其抗拉强度和导电能力比较令人满意。
7 设备选取
  在进行冷压焊时,应根据电缆线的截面积选用合适的压力。导线截面在300mm2及以下时用12t冷压设备;导线截面在300mm2以上时采用24t冷压设备。
  对于扁导线、圆导线及多根电缆线并联的情况,应按总截面考虑,按与其相邻较大级的电缆线来选用合适的连接管和冷压设备。
  以上几种冷挤压焊模具已在我厂数十台变压器的引线过程中得到了使用,性能稳定,效果良好。使用该挤压焊模具制造的变压器经过试验,全部合格。
, Z# D% q8 V# E. ^( W, k1 R
您需要登录后才可以回帖 登录 | 注册会员

本版积分规则

中国磨床技术论坛
论 坛 声 明 郑重声明:本论坛属技术交流,非盈利性论坛。本论坛言论纯属发表者个人意见,与“中国磨削技术论坛”立场无关。 涉及政治言论一律删除,请所有会员注意.论坛资源由会员从网上收集整理所得,版权属于原作者. 论坛所有资源是进行学习和科研测试之用,请在下载后24小时删除, 本站出于学习和科研的目的进行交流和讨论,如有侵犯原作者的版权, 请来信告知,我们将立即做出整改,并给予相应的答复,谢谢合作!

中国磨削网

QQ|Archiver|手机版|小黑屋|磨削技术网 ( 苏ICP备12056899号-1 )

GMT+8, 2025-11-26 22:51 , Processed in 0.115250 second(s), 23 queries .

Powered by Discuz! X3.5

© 2001-2025 Discuz! Team.

快速回复 返回顶部 返回列表