找回密码
 注册会员

QQ登录

只需一步,快速开始

扫一扫,访问微社区

查看: 488|回复: 0

数控车床加工过程中刀具补偿的应用介绍

[复制链接]
发表于 2010-9-12 10:13:44 | 显示全部楼层 |阅读模式

马上注册,结交更多好友,享用更多功能,让你轻松玩转磨削论坛

您需要 登录 才可以下载或查看,没有账号?注册会员

×

前言

 

  数控车床通常连续实行各种切削加工,刀架在换刀时前一刀具刀尖位置和新换的刀具位置之间会产生差异,刀具安装也存在误差、刀具磨损和刀尖圆弧半径等误差,若不利用刀具补偿功能予以补偿,就切削不出符合图样要求形状的零件。此外,合理利用刀具补偿还可以简化编程。数控车床的刀具补偿可分为两类,即刀具位置补偿和刀具半径补偿。

  

1 刀具位置补偿

 

  加工过程中,若使用多把刀具,通常取刀架中心位置作为编程原点,即以刀架中心! 为程序的起始点,如图1所示,而刀具实际移动轨迹由刀具位置补偿值控制。由图1(a)可见,刀具位置补偿包含刀具几何补偿值和磨损补偿值。

  

  

  图1 刀具位置补偿

  由于存在两种形式的偏移量,所以刀具位置补偿使用两种方法,一种方法是将几何补偿值和磨损补偿值分别设定存储单元存放补偿值,其格式为:

  

  

  另一种方法是将几何偏移量和磨损偏移量合起来补偿,如图(b)所示,其格式为:

  

  

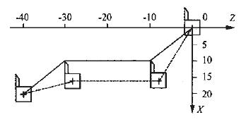
  总补偿值存储单元编号有两个作用,一个作用是选择刀具号对应的补偿值,并执行刀具位置补偿功能;另一个作用是当存储单元编号00时可以取消位置补偿,例如T0100,表示消去+号刀具当前的补偿值。图2表示位置补偿的作用,图2中的实线是刀架中心A 点的编程轨迹线,虚线是执行位置补偿时A 点的实际轨迹线,实际轨迹的方位和X、Z轴的补偿值有关,其程序为:

  N010 G00 X10 Z-10 T0202;

  N020 G01 Z-30;

  N030 X20 Z-40 T0200;

  

  

  图2 刀具位置补偿作用

  数控车床系统刀具结构如图3所示,图3中P为假想刀尖,S为刀头圆弧圆心,r为刀头半径,A为刀架参考点。

  

  

  图3 车刀结构

  车床的控制点是刀架中心,所以刀具位置补偿始终需要。刀具位置补偿是用来实现刀尖圆弧中心轨迹与刀架参考点之间的转换,对应图3中A与S之间的转换,但是实际上我们不能直接测得这两个中心点之间的距离矢量,而只能测得假想刀尖! 与刀架参考点$ 之间的距离。

  为了简便起见,不妨假设刀头半径r=0,这时可采用刀具长度测量装置测出假想刀尖点P相对于刀架参考点的坐标和,并存入刀具参数表中。

  

  

  式中:——— 假想刀尖P点坐标;

  (X,Z) ——— 刀架参考点A的坐标。

  至此很容易写出刀具位置补偿的计算公式为

  

  

  式中假想刀尖P的坐标实际上即为加工零件轨迹点坐标,可从数控加工程序中获得。此时,零件轮廓轨迹经式(2)补偿后,即能通过控制刀架参考点A来实现。

  对于图3中r≠0的情况,在进行刀具位置补偿时,不但需要考虑到刀头圆弧半径的补偿,而且还要考虑到刀具的安装方式(具体见2.2)。

  

2 刀具半径补偿

 

  编制加工程序时,一般是将刀尖看作是一个点,然而实际上刀尖是有圆弧的,在切削内孔、外圆及端面时,刀尖圆弧不影响加工尺寸和形状,但在切削锥面和圆弧时,则会导致刀具的行走轨迹与编程轨迹不相吻合,而有一差值。图4表示圆弧刀尖有半径补偿和无半径补偿时的轨迹。从图中可以看出,采用假想刀尖P编程时,刀具圆弧中心轨迹如图4中双点划线所示,刀具实际加工轨迹和工件要求的轮廓形状存在误差,误差大小和圆弧半径r有关。若采用刀具圆弧中心编程并使用半径补偿功能时刀具圆弧中心的轨迹是图4中的细实线,加工轨迹和工件要求的轮廓相等。

  

  

  图4 圆弧刀尖有半径补偿和无半径补偿时的轨迹

  因为车刀的安装和几何形状较复杂,下面通过几个方面作进一步阐述.

2.1 假想刀尖P的方位确定

  假想车刀刀尖P相对圆弧中心的方位与刀具移动方向有关,它直接影响圆弧车刀补偿计算结果。图5是圆弧车刀假想刀尖方位及代码。从图中可以看出,刀尖P的方位有八种,分别用1~8八个数字代码表示,同时规定,刀尖取圆弧中心位置时,代码为0或9,可以理解为没有圆弧补偿。

  

  

  图5 圆弧车刀假想刀尖方位及代码

  2.2 圆弧半径补偿和位置补偿的关系

  如果按照刀架中心A点作为编程起始点,不考虑圆弧半径补偿,则车刀在X轴和Z轴补偿值按照图1(b)所示方法确定。既要考虑车刀位置补偿,又要考虑圆弧半径补偿,此时车刀在X轴和Z轴的位置补偿值可以按照图6所示方法确定,而将刀具的圆弧半径r值放入相应的存储单元中,在加工时数控装置自动进行圆弧半径补偿。在刀具代码T中的补偿号对应的存储单元中,存放一组数据:X轴Z轴的长度补偿值,圆弧半径补偿值和假想刀尖方位(0~9)。操作时,可以将每一把刀具的四个数据分别输入刀具补偿号对应的存储单元中,即可实现自动补偿(表1)。

  

  

  图6 圆弧车刀位置补偿

  表1 刀具补偿值

  

  

  2.3 圆弧半径自动补偿轨迹

  刀具半径是否补偿以及采用何种方式补偿,是由G指令中的G40、G41、G42决定的:

  G40———刀具半径补偿取消,即使用该指令后,使G41、G42指令无效。

  G41———刀具半径左补偿,即沿刀具运动方向看,刀具位于工件左侧时的刀具半径补偿。

  G42———刀具半径右补偿,即沿刀具运动方向看,刀具位于工件右侧时的刀具半径补偿。

  刀具补偿的程序格式为:

  G40__; 消除补偿;

  G41__; 半径补偿起始程序段;

  __;

  

  

  图7 刀具补偿过程

  从图7可以看出,在起始程序段中,刀具在移动过程中逐渐加上补偿值。当起始程序段结束之后,刀具圆弧中心停留在程序设定坐标点的垂线上,距离是半径补偿值。

  

3 数控车床不具备刀具半径补偿功能时的刀具补偿计算

 

  当数控车床没有刀具半径补偿功能时,用圆头车刀加工工件时,就要用计算的方法来求解刀具半径补偿量。

  3.1 按假想刀尖编程加工锥面

  如图8所示,若假想刀尖沿工件轮廓AB移动,即与AB重合,并按AB尺寸编程,则必然产生图8(a)中ABCD残留误差。因此按图8(b)所示,使车刀的切削点移至AB,并沿AB移动,从而可避免残留误差,但这时假想刀尖轨迹与轮廓在Z方向相差了△z。

  

  

  式中:r为刀具圆弧半径;θ为锥面斜角。

  因此可直接按假想刀尖轨迹的坐标值编程,在x方向和z方向予以补偿△z即可。

  图8 车锥面刀补偿示意图

  3.2 按假想刀尖编程加工圆弧

  当车削圆弧表面时,会出现如图9所示的情况。图9(a)为车削半径为R的凸圆弧,由于P的存在,则刀尖# 点所走的圆弧轨迹并不是工件所要求的圆弧形状。其圆心为“

  

  ”,半径为“R+r”,此时编程人员仍按假想刀尖P点进行编程,不考虑刀尖圆弧半径的影响,但要求加工前应在刀补值上给Z向和X向分别加一个补偿量r。同理,在切削凹圆弧,如图9(b)时,则在X向和Z向分别减一个补偿量r。

  

  

  图9 车圆弧刀补示意图

  3.3 按刀尖圆弧中心轨迹编程

  图10所示零件是由三段凸圆弧和凹圆弧构成的,这时可用虚线所示的三段等距线进行编程,即

  圆半径为圆半径为圆半径为,三段圆弧的终点坐标由等距的切点关系求得。这种方法编程比较直观,常被采用。

  

  

  图10 按刀尖圆弧中心编程

  

4 结束语

 

  刀具补偿功能的作用主要在于简化程序,即按零件的轮廓尺寸编程。在加工前,操作者测量实际的刀具长度、半径和确定补偿正负号,作为刀具补偿参数输入数控系统,使得由于换刀或刀具磨损带来刀具尺寸参数变化时,虽照用原程序,却仍能加工出合乎尺寸要求的零件。此外,刀具补偿功能还可以满足编程和加工工艺的一些特殊要求。

 

, n' @/ y _& \+ u! K
您需要登录后才可以回帖 登录 | 注册会员

本版积分规则

中国磨床技术论坛
论 坛 声 明 郑重声明:本论坛属技术交流,非盈利性论坛。本论坛言论纯属发表者个人意见,与“中国磨削技术论坛”立场无关。 涉及政治言论一律删除,请所有会员注意.论坛资源由会员从网上收集整理所得,版权属于原作者. 论坛所有资源是进行学习和科研测试之用,请在下载后24小时删除, 本站出于学习和科研的目的进行交流和讨论,如有侵犯原作者的版权, 请来信告知,我们将立即做出整改,并给予相应的答复,谢谢合作!

中国磨削网

QQ|Archiver|手机版|小黑屋|磨削技术网 ( 苏ICP备12056899号-1 )

GMT+8, 2025-11-26 22:36 , Processed in 0.118744 second(s), 23 queries .

Powered by Discuz! X3.5

© 2001-2025 Discuz! Team.

快速回复 返回顶部 返回列表