找回密码
 注册会员

QQ登录

只需一步,快速开始

扫一扫,访问微社区

查看: 550|回复: 0

ZJK7532A-3型数控铣钻床编程及机床操作综合示例(上)

[复制链接]
发表于 2010-10-22 08:31:19 | 显示全部楼层 |阅读模式

马上注册,结交更多好友,享用更多功能,让你轻松玩转磨削论坛

您需要 登录 才可以下载或查看,没有账号?注册会员

×
在这里我们将学习使用Mastercam分析和设计一个工件,以及如何在数控铣床上进行加工。
3 \" _9 i" w) k9 \. y, `
Mastercam是基于微机平台的CAD/CAM集成系统,侧重于数控加工编程,其曲线、曲面设计功能是为数控加工编程服务的,具有2~5坐标数控铣削加工编程能力、线切割加工编程能力和车削加工编程能力,在模具制造业中的应用十分广泛,本节通过一个示例来介绍Mastercam的使用及数控机床的操作。
+ |4 w/ w$ C6 V& Q& f" _
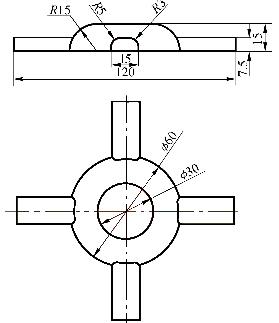
对图1的工件尺寸进行设计的过程如下:
$ l" s- i- t% I8 }' Y; j6 Z" ~5 t
% U$ V% }4 E( T: Z, B' V+ C' V
图1 零件图
7 Q( Y9 G3 M ?) D d1 p& S
1、几何造型
& v+ A" o: L3 \3 c; u
1)在主功能区依次单击F档案、W开启新档,新建一个文件;
) d5 O. j0 B# \# L/ _3 n
2)在工具栏中单击 ,将视角和构图面都设为俯视图;
( }; M J5 V8 N5 f
3)在主功能区依次单击C绘图、A圆弧、R点半径圆,输入中心点座标“0,0”,半径“15”,结果如图2所示;
& |% t% z7 N/ R* x: X- v- U
( C! c) q6 u: }% ^% a1 E
图2
* C, [5 d: h$ |7 X* \6 e' O7 Q3 }
4)在子功能区单击Z:0.000,输入Z轴深度“-15”;
; s1 }5 |1 r4 G& f0 h
        5)输入中心点座标“0,0”,半径“30” ,结果如图3所示;
" F7 }* k; K$ g2 e- @) I0 @! Y
' V) V+ b! `) G- C1 L) Q- M$ n% {. w
图3
. m# g1 ?; W- D: D. g
6)在工具栏中单击 ,将视角设为前视图,构图面设为空间绘图;
9 C& L6 ~" |. k# t
7)单击回主功能表,在主功能区依次单击C绘图、A圆弧、E两点画弧,用抓点模式U四等分位抓点,输入半径“15”,如图4;
8 |% T5 d: P! Z
1 H+ j4 z6 p) w
图4
- b9 Y' m' j1 i& Z1 R
8)在工具栏中单击,将视角和构图面都设为前视图;
# ?1 r8 T- R* S' |6 ]1 E2 ^
9)在子功能区单击Z:-15.000,输入Z轴深度“60”;
9 ], W" F5 N9 N0 `* v; w
10)单击回主功能表,依次单击C绘图、R矩形、C中心点,输入中心点座标“0,-15”,宽度“15”,高度“15”,如图5;
* E9 ^/ W: I; S; Q
" p" v2 i+ O7 t9 i; m3 B0 r
图5
# ` r* P4 q: f) D9 G; c& Z
11)单击回主功能表,依次单击M修整、B打断、2两断,把矩形的两条竖边在中点处打断;
- w0 J! G" k. C/ G1 M; w" W" ~
12)单击回主功能表,依次单击D删除、O仅某图素、L线,把矩形的两条竖边的下半段和底边删除,如图6;
6 M+ H4 O* w/ L( I: w
4 S% n. |) U( @8 {1 k
图6
- g- s4 z) N: Z3 J2 V8 R3 |
13)单击回主功能表,依次单击C绘图、F倒圆角、R半径值,输入“5”,把矩形的左上角倒圆角,如图7,输入“3”,把矩形的右上角倒圆角,如图8;
' t2 ?# [+ d# Z% {- l
- k9 Y1 b! V, i; i
图7                        图8
2 }1 i; q& R+ x9 S# q" }& Q: d: Q
14)在子功能区单击Z:60.000,输入Z轴深度“23”;
6 o/ s5 D$ N( N" |( z6 w9 F
15)重复10)至13)步骤;
5 H& I5 b) R+ O/ {
16)在子功能区单击Z:23.000,输入Z轴深度“-23”;
7 m: @2 B, p' C3 h
17)重复10)至13)步骤;
, a" }$ V& `- k! z
18)在子功能区单击Z:-23.000,输入Z轴深度“-60”;
- N( C/ n& ^- e4 u9 K5 _
19)重复10)至13)步骤;
2 F0 h8 |$ I0 \: o
20)在工具栏中单击 ,将视角设为等角视图,结果如图9;
5 _8 q- w0 `; S1 f) O
. m" x4 h3 T1 Q/ Q
图9
5 [, V' y+ U7 C( |- K, T1 u
21)在工具栏中单击 ,将视角和构图面都设为侧视图;
# y$ G3 V/ z3 `; v, D
22)在子功能区单击Z:-60.000,输入Z轴深度“60”;
- h. O1 @) @ M! x1 ^
23)重复10)至13)步骤;
8 j; {. M0 G3 F' h/ M1 ^/ P& O
24)在子功能区单击Z:60.000,输入Z轴深度“23”;
7 _ q" Q% i E! C, r- ^0 S4 j5 b
25)重复10)至13)步骤;
) M7 U2 w7 ]$ c" g8 A9 }* J
26)在子功能区单击Z:23.000,输入Z轴深度“-23”;
) d9 i; j8 i. F% E' ~
27)重复10)至13)步骤;
' L# a: z; U. K3 e; I
28)在子功能区单击Z:-23.000,输入Z轴深度“-60”;
. m$ G/ C2 G! Y
29)重复10)至13)步骤;
' a5 ^/ @) i4 R
30)在工具栏中单击 ,将视角设为等角视图,结果如图10;
: ? e+ {' P; t4 C5 }* n0 E# ]
0 b: A) ]+ m6 m, s
图10
8 Z9 f8 K1 ?2 p% Z4 U" x$ D% q0 A
31)在工具栏中单击 ,将构图面设为空间绘图;
' z% t( s: g W, p
32)单击回主功能表,依次单击C绘图、L线、E任意线段,分别连接各端点,如图11;
$ y; m1 B* u" o% @
! N, c4 N/ t# m2 F! f
图11
8 O' E( g3 S# r, I
您需要登录后才可以回帖 登录 | 注册会员

本版积分规则

中国磨床技术论坛
论 坛 声 明 郑重声明:本论坛属技术交流,非盈利性论坛。本论坛言论纯属发表者个人意见,与“中国磨削技术论坛”立场无关。 涉及政治言论一律删除,请所有会员注意.论坛资源由会员从网上收集整理所得,版权属于原作者. 论坛所有资源是进行学习和科研测试之用,请在下载后24小时删除, 本站出于学习和科研的目的进行交流和讨论,如有侵犯原作者的版权, 请来信告知,我们将立即做出整改,并给予相应的答复,谢谢合作!

中国磨削网

QQ|Archiver|手机版|小黑屋|磨削技术网 ( 苏ICP备12056899号-1 )

GMT+8, 2026-1-13 10:32 , Processed in 0.127331 second(s), 23 queries .

Powered by Discuz! X3.5

© 2001-2025 Discuz! Team.

快速回复 返回顶部 返回列表